Dầm bê tông cốt thép là gì? Nối tiếp chuỗi bài viết về Hiểu biết xây dựng nhà ở. Hôm nay, MaxHome giới thiệu đến các bạn về dầm bê tông cốt thép. Một trong những cấu kiện quan trọng trong các công trình xây dựng chứ không riêng gì nhà ở. Lựa chọn dầm bê tông đặc biệt cần thiết cho các công trình, mẫu thiết kế nhà phố, nhà ống đẹp hiện nay.
- Dầm bê tông cốt thép là gì?
Trước khi nắm được khái niệm dầm bê tông cốt thép là gì, bạn cần hiểu được dầm là gì. Bởi ngoài dầm bê tông sẽ còn một số loại dầm khác, do vậy hiểu được dầm là gì rất quan trọng.
Dầm là gì? Dầm là cấu kiện cơ bản, đóng vai trò là thanh chịu lực (chủ yếu là chịu uốn). Chúng có thể nằm ngang hoặc nằm nghiêng để đỡ các bản dầm tường, mái nhà ở phía trên.
Dầm được chia ra làm nhiều loại, chất liệu khác nhau. Tất nhiên, kích thước dầm sẽ phụ thuộc vào diện tích nhà ở để quyết định. Một số loại dầm thường hay nghe nhất: dầm sàn, dầm mái, dầm cầu trục…Trong mỗi loại dầm này, sẽ chia ra dầm chính, dầm phụ…

Dầm bê tông cốt thép là gì?
Dầm bê tông cốt thép là một loại cấu kiện bao gồm bê tông và cốt thép. Từ hai nguyên liệu chính này sẽ tạo ra dầm bê tông cốt thép. Chúng thường có hình chữ nhật hoặc hình vuông. Kích thước của dầm bê tông cốt thép phụ thuộc vào diện tích của công trình xây dựng.
Bê tông là hỗn hợp gồm 3 thành phần chính là xi măng, cát, đá. Như vậy có thể nói dầm bê tông cốt thép là hỗn hợp gồm 3 thành phần chính kia (Thép gồm sắt Fe và Cacbon C và một số nguyên tố hóa học khác).
Dầm bê tông cốt thép là cấu kiện chịu uốn. Trên thực tế, bên cạnh việc chịu uốn, dầm bê tông cốt thép còn có thể chịu nén. Tuy nhiên, khả năng chịu nén thấp hơn so với chịu uốn. Chính vì vậy mà khi nói dầm là cấu kiện chịu uốn, người ta sẽ hiểu khả năng chịu uốn là chủ yếu.

Khái niệm dầm bê tông cốt thép là gì?
- Cấu tạo của dầm bê tông cốt thép là gì?
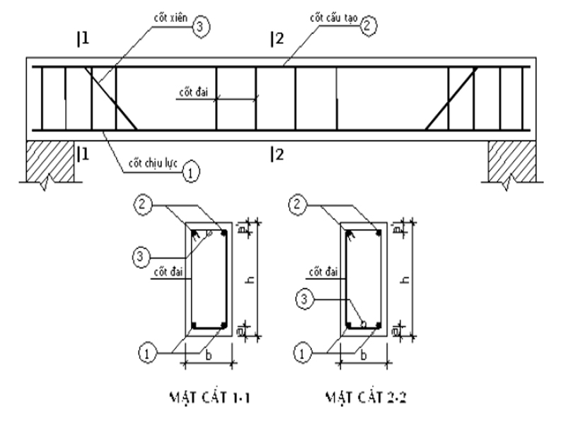
Cốt thép trong dầm bê tông bao gồm: cốt dọc chịu lực, cốt dọc cấu tạo, cốt đai và cốt xiên. Trong mỗi dầm đều tồn tại 4 cốt dọc ở 4 góc của thanh dầm. Còn cốt xiên có thể có mà cũng có thể không.
Cốt thép dọc chịu lực của dầm thường dùng nhóm AII, AIII hoặc CII, CIII. Đường kính của chúng sẽ nằm trong khoảng từ 12 – 40mm. Còn cốt đai trong dầm dùng để chịu lực ngang. Do vậy đường kính sẽ nhỏ hơn rất nhiều. Mức tối thiểu quy định là 4mm.
Lớp bảo vệ cốt thép Ao được định nghĩa là khoảng cách từ mép ngoài bê tông đến mép cốt thép. Trong đó Ao1 là lớp bảo vệ cốt đai, Ao2 là lớp bảo vệ cốt dọc. Tác dụng của lớp bảo vệ này là giúp cho thép không bị hoen rỉ sét.

Cấu tạo dầm bê tông cốt thép
Khoảng cách thông thủy to giữa 2 cốt thép là khoảng cách từ cốt thép này đến mép cốt thép kia, đảm bảo khi đổ bê tông không bị kẹt đá.
Ta có quy định về kích thước như sau:
Ao1 ≥ 1cm khi h ≤ 25cm;
Ao1 ≥ 1,5cm khi h > 25cm.
Ao2 ≥ 1,5cm khi h ≤ 25cm;
Ao2 ≥ 2cm khi h > 25cm.
Đây chính là cấu tạo, kết cấu dầm bê tông cốt thép. Một số điểm cơ bản để người đọc có thể nắm bắt được. Kết cấu dầm bê tông cốt thép nhà dân dụng và kết cấu công trình xây dựng lớn sẽ có sự khác biệt. Tuy nhiên, trong phạm vi bài viết này, chúng tôi xin phép không đề cập chuyên sâu sự khác nhau là gì. Thay vào đó, chúng tôi sẽ giải thích rõ hơn về khái niệm, cấu tạo cũng như nguyên lý hoạt động dầm bê tông cốt thép.
- Nguyên lý làm việc của dầm bê tông cốt thép
Quan sát sự làm việc của dầm từ lúc mới đặt tải đến lúc phá hoại, sự diễn biến của dầm xảy ra như sau:
Khi tải trọng chưa lớn thì dầm vẫn còn nguyên vẹn, tiếp đó cùng với sự tăng của tải trọng, xuất hiện của khe nứt thẳng góc với trục dầm tại đoạn dầm có moment lớn và những khe nứt nghiêng ở đoạn dầm gần gối tựa là chỗ có lực ngang lớn, khi tải trọng đã lớn thì dầm bị phá hoại hoặc tại tiết diện có khe nứt thẳng góc, hoặc tại tiết diện có khe nứt nghiêng.
Trong suốt quá trình đặt tải, độ võng của dầm cứ tăng lên.Trong trạng thái giới hạn của dầm theo khả năng chịu lực (tức là theo cường độ) được đặc trưng bằng sự phá hoại theo tiết diện thẳng góc với trục dầm hoặc theo tiết diện nghiêng, vì vậy tính toán cấu kiện chịu uốn theo khả năng chịu lực bao gồm tính toán trên tiết diện thẳng góc và trên tiết diện nghiêng.

MaxHome vừa đến bạn đọc một số thông tin, giải đáp thắc mắc khái niệm dầm bê tông cốt thép là gì? Đừng ngần ngại liên hệ với chúng tôi để nhận được tư vấn.











